船舶螺旋桨密封结构图(潜艇螺旋桨密封原理)
螺旋桨从船底下伸出来不会漏水。螺旋桨从船底下伸出来,是做好了防水密封的,一般在螺旋桨的轴与船之间设置有密封材料,对于小型船只使用盘根密封就可以了,大型轮船螺旋桨位置不进水的原因是由于螺旋桨的设计和安装方式,以下是几个关键的因素:1,螺旋桨结构:螺旋桨通常由耐腐蚀和防水的材料制成,如青铜。螺旋桨的密封一般是这样的,有一根尾轴连接螺旋桨,在尾轴进入船体的连接处有个油压舱,里面充满了加压的密封油,所以海水是进不去的。

螺旋桨轴在船尾被挖出大洞后能够做到“滴水不漏”,是因为它采用了高强度特殊设计、机械密封装置和密封润滑系统。船舶发动机和螺旋桨中间会通过很多级的传动装置(齿轮、传动带、密封轴承)连接,在接近船尾,可以做出多个独立密封舱,由于这些器件都是金属的。船用螺旋桨和轴与船体的连接处,采用的是专用密封装置来防水和防污的。

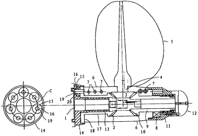
在机械设计手册第十篇中。因为不是这个专业,所以咨询了下这方面专业的堂哥,了解到以下知识,先说船舶螺旋桨密封,首先建立大概的概念,主要要实现尾轴与尾轴管之间的密封。船舶尾轴处会有收尾密封连接,由艉密封负责防止海水渗漏艉轴管两端会安装艏艉密封里面有衬套,衬套的尺寸稍大于尾轴,当尾轴转动时,衬套也跟着一起转。

一般遥控船的螺旋桨轴穿出的位置都是用凡士林这种固体的润滑油来密封的……如果有多个隔舱就更好了……前提是潜深不是很大,不然水压也承受不住…。因为在采用螺旋桨推进的船舶中,尾轴和尾轴承之间要按一定的规定留有间隙,尾轴又处于水面以下,工作时需要润滑和冷却。潜艇尾轴密封装置是潜艇舷外设备密封尺寸最大、工作环境最恶劣的动密封,他对潜艇生命力有较大的意义,一旦发生事故,将对潜艇带来严重的灾难。
轴承壳体里面装上轴承就可以把尾轴支撑起来并且轴封,有几种密封结构可以使得舷外的水不大量渗透进来。早期蒸汽船是明轮的,轮轴在水面以上,不可能进水,典型的就是颐和园的石舫和颐和园海军学院的蒸汽训练舰【永和】号。当时代进步到螺旋桨推进的时候,轴套与船体之间是需要用环氧树脂胶进行固定和密封的,此胶防水。需要注意的一点是,安装轴套时,要注意轴套的纵轴线与船体的纵轴线不能平行。

版权声明:转载请注明出处:https://360haiyun.com/news_14/10906.html
